製品情報 products
US強力シャックル
強度・靭性に優れたISO規格のシャックル
特殊合金鋼に熱処理を施した、強度・靭性・耐摩耗性に優れたISO規格のシャックルです。サイズも種類も豊富で、数ある種類の中から最適なサイズを選ぶことが出来ます。
弊社ではボルトナットタイプ、ねじ込みピンタイプの両方をラインナップしております。アメリカ式の荷重検査ではなく、日本式の一点集中荷重方式で国内のユーザー様の使い勝手が良いように設計した209、2130型のシャックルもラインナップしております。
サイズや種類が多く便利で使いやすいとご好評頂いております。
製品の特徴
- 全て国内自社製造です (MADE IN JAPAN)
- 鋼材は全て自社で管理しています
- 全サイズ工場証明書の発行が可能(有償)
- ロット番号と出荷日からトレーサビリティが取れます
- 輸出制限に該当するものはありません
- 社内独自の鍛造方法で製品の形がきれい
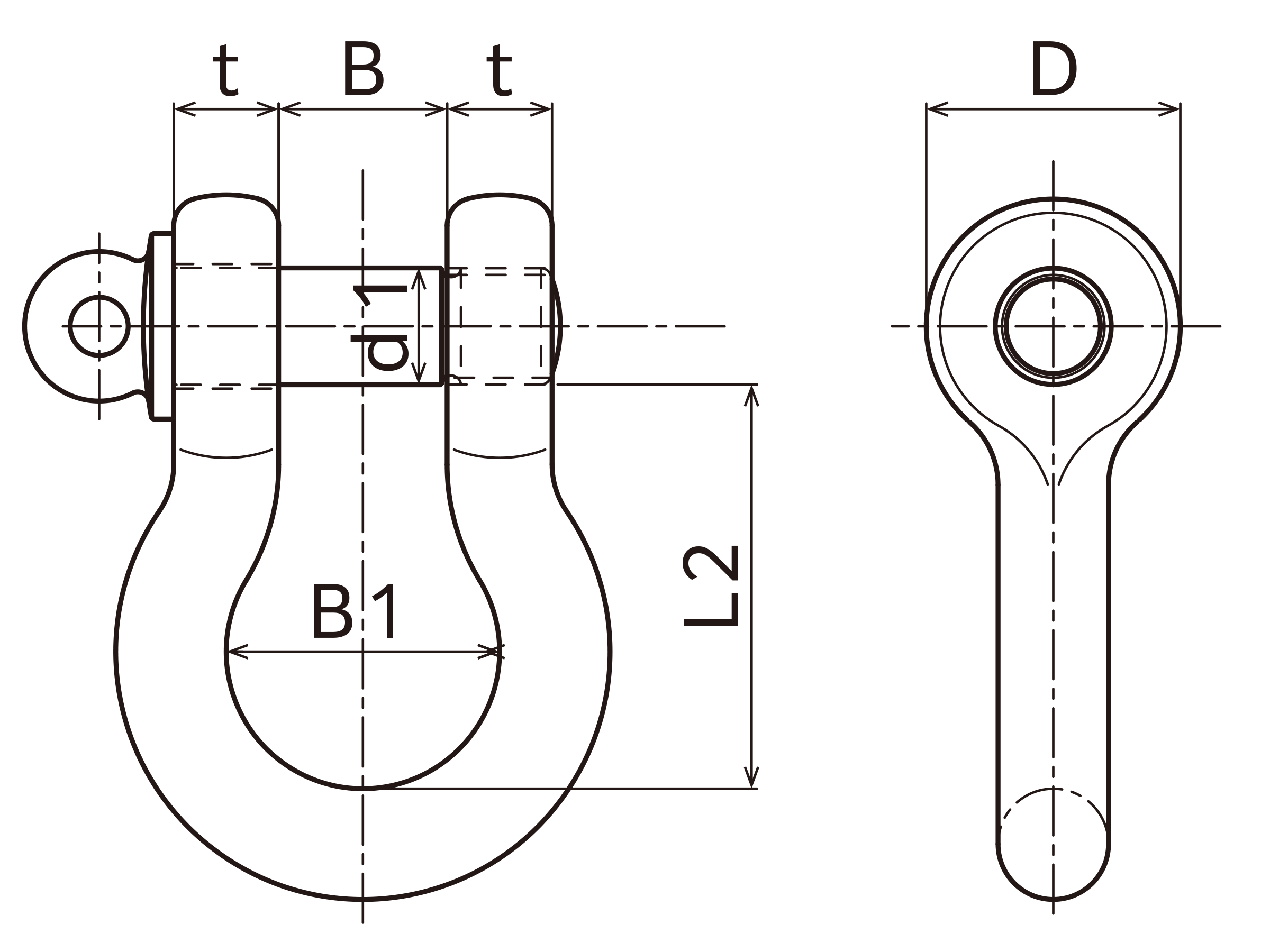
KS1150 ストレートタイプ
ボルトナット(塗装・めっき)
US型 強力シャックル KS1150(塗装)/ KG1150(めっき)
| 形式 | 使用荷重 | inch (呼び) |
d 本体径 |
t 厚さ |
d1 ピン径 |
B 口巾 |
L1 長さ |
D 頭径 |
Weight (kg) |
|
|---|---|---|---|---|---|---|---|---|---|---|
| tf | (KN) | |||||||||
| KS-1150 (塗装) KG-1150 (めっき) ボルトナット型 (Bolt Nut Type) |
2.0t | (19.6) | 1/2 | 13 | 13 | 16 | 21 | 42 | 30 | 0.4 |
| 3.25t | (31.85) | 5/8 | 16 | 16 | 19 | 27 | 51 | 40 | 0.7 | |
| 4.75t | (46.55) | 3/4 | 19 | 19 | 22 | 32 | 61 | 48 | 1.1 | |
| 6.5t | (63.7) | 7/8 | 22 | 22 | 25 | 37 | 72 | 54 | 1.7 | |
| 8.5t | (83.3) | 1 | 25 | 25 | 28 | 43 | 81 | 60 | 2.4 | |
| 9.5t | (93.1) | 1-1/8 | 28 | 28 | 32 | 46 | 91 | 67 | 3.4 | |
| 12.0t | (117.6) | 1-1/4 | 32 | 32 | 36 | 52 | 100 | 76 | 4.8 | |
| 13.5t | (132.3) | 1-3/8 | 36 | 36 | 38 | 58 | 113 | 84 | 6.7 | |
| 17.0t | (166.6) | 1-1/2 | 38 | 38 | 42 | 61 | 124 | 92 | 8.1 | |
| 25.0t | (245.0) | 1-3/4 | 46 | 46 | 50 | 73 | 146 | 110 | 14.0 | |
| 35.0t | (343.0) | 2 | 50 | 50 | 57 | 83 | 172 | 127 | 21.0 | |
| 55.0t | (539.0) | 2-1/2 | 65 | 65 | 70 | 105 | 204 | 153 | 38.0 | |
| 85.0t | (833.0) | 3 | 75 | 75 | 83 | 127 | 216 | 165 | 56.0 | |
| ※120.0t | (1176.0) | 3-1/2 | 90 | 90 | 96 | 134 | 266 | 203 | 100.0 | |
| ※150.0t | (1470.0) | 4 | 100 | 100 | 108 | 140 | 305 | 228 | 121.0 | |
単位=mm
※印が付いている製品には、ピンの抜き差しを容易にするための取手が付いています。
KS100 ストレートタイプ
捻込み(塗装・めっき)
US型 強力シャックル KS100(塗装)/ KG100(めっき)
| 形式 | 使用荷重 | inch (呼び) |
d 本体径 |
t 厚さ |
d1 ピン径 |
B 口巾 |
L1 長さ |
D 頭径 |
Weight (kg) |
|
|---|---|---|---|---|---|---|---|---|---|---|
| tf | (KN) | |||||||||
| KS-100 (塗装) KG-100 (めっき) 捻込み型 (Screw Pin Type) |
0.5t | (4.9) | 1/4 | 6.5 | 6.5 | 8 | 12 | 23 | 17 | 0.056 |
| 0.75t | (7.35) | 5/16 | 8 | 8 | 10 | 14 | 27 | 20 | 0.084 | |
| 1.0t | (9.8) | 3/8 | 10 | 10 | 12 | 17 | 32 | 24 | 0.14 | |
| 2.0t | (19.6) | 1/2 | 13 | 13 | 16 | 21 | 42 | 30 | 0.30 | |
| 3.25t | (31.85) | 5/8 | 16 | 16 | 19 | 27 | 51 | 40 | 0.57 | |
| 4.75t | (46.55) | 3/4 | 19 | 19 | 22 | 32 | 61 | 48 | 1.00 | |
| 6.5t | (63.7) | 7/8 | 22 | 22 | 25 | 37 | 72 | 54 | 1.50 | |
| 8.5t | (83.3) | 1 | 25 | 25 | 28 | 43 | 81 | 60 | 2.10 | |
| 9.5t | (93.1) | 1-1/8 | 28 | 28 | 32 | 46 | 91 | 67 | 2.90 | |
| 12.0t | (117.6) | 1-1/4 | 32 | 32 | 36 | 52 | 100 | 76 | 4.10 | |
| 13.5t | (132.3) | 1-3/8 | 36 | 36 | 38 | 58 | 113 | 84 | 5.30 | |
| 17.0t | (166.6) | 1-1/2 | 38 | 38 | 42 | 61 | 124 | 92 | 7.00 | |
| 25.0t | (245.0) | 1-3/4 | 46 | 46 | 50 | 73 | 146 | 110 | 12.00 | |
| 35.0t | (343.0) | 2 | 50 | 50 | 57 | 83 | 172 | 127 | 18.00 | |
単位=mm
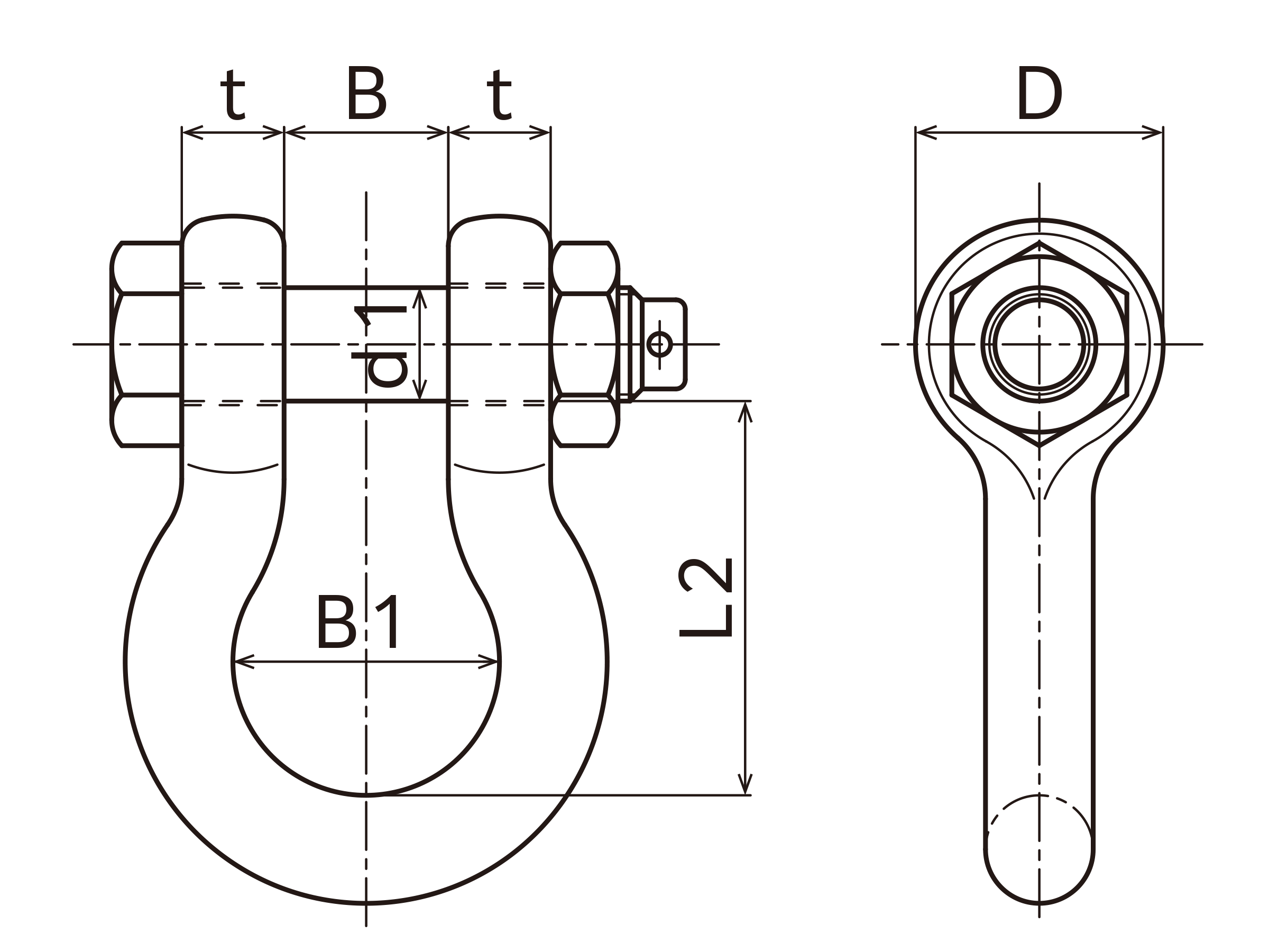
KS2130 バウタイプ
ボルトナット(塗装・めっき)新モデル
US型 強力シャックル KS2130(塗装)/ KG2130(めっき)
| 形式 | 使用荷重 | inch (呼び) |
t 厚さ |
d1 ピン径 |
B 口巾 |
B1 内直径 |
L2 長さ |
D 頭径 |
Weight (kg) |
|
|---|---|---|---|---|---|---|---|---|---|---|
| tf | (KN) | |||||||||
| KS-2130 (塗装) KG-2130 (めっき) ボルトナット型 (Bolt Nut Type) |
2.0t | (19.6) | 1/2 | 13 | 16 | 21 | 33.5 | 48 | 30 | 0.42 |
| 3.25t | (31.85) | 5/8 | 16 | 19 | 27 | 43 | 61 | 40 | 0.77 | |
| 4.75t | (46.55) | 3/4 | 19 | 22 | 32 | 51 | 72 | 48 | 1.30 | |
| 6.5t | (63.7) | 7/8 | 22 | 25 | 37 | 58 | 85 | 54 | 2.00 | |
| 8.5t | (83.3) | 1 | 25 | 28 | 43 | 69 | 96 | 60 | 2.70 | |
| 9.5t | (93.1) | 1-1/8 | 28 | 32 | 46 | 74 | 108 | 67 | 3.80 | |
| 12.0t | (117.6) | 1-1/4 | 32 | 36 | 52 | 83 | 119 | 76 | 5.40 | |
| 13.5t | (132.3) | 1-3/8 | 36 | 38 | 58 | 92 | 134 | 84 | 7.40 | |
| 17.0t | (166.6) | 1-1/2 | 38 | 42 | 61 | 99 | 146 | 92 | 9.10 | |
| 25.0t | (245.0) | 1-3/4 | 46 | 50 | 73 | 127 | 178 | 110 | 16.70 | |
| 35.0t | (343.0) | 2 | 50 | 57 | 83 | 146 | 197 | 127 | 24.10 | |
| 55.0t | (539.0) | 2-1/2 | 65 | 70 | 105 | 184 | 267 | 153 | 50.10 | |
| 85.0t | (833.0) | 3 | 75 | 83 | 127 | 200 | 330 | 165 | 74.90 | |
| ※120.0t | (1176.0) | 3-1/2 | 90 | 96 | 134 | 228 | 372 | 203 | 127.00 | |
| ※150.0t | (1470.0) | 4 | 100 | 108 | 140 | 254 | 418 | 228 | 178.00 | |
単位=mm
※印が付いている製品には、ピンの抜き差しを容易にするための取手が付いています。
KS209 バウタイプ
捻込み(塗装・めっき)新モデル
US型 強力シャックル KS209(塗装)/ KG209(めっき)
| 形式 | 使用荷重 | inch (呼び) |
t 厚さ |
d1 ピン径 |
B 口巾 |
B1 内径 |
L2 長さ |
D 頭径 |
Weight (kg) |
|
|---|---|---|---|---|---|---|---|---|---|---|
| tf | (KN) | |||||||||
| KS-209 (塗装) KG-209 (めっき) 捻込み型 (Screw Pin Type) |
0.5t | (4.9) | 1/4 | 6.5 | 8 | 12 | 20 | 29 | 17 | 0.07 |
| 0.75t | (7.35) | 5/16 | 8 | 10 | 14 | 22 | 31 | 20 | 0.10 | |
| 1.0t | (9.8) | 3/8 | 10 | 12 | 17 | 26.5 | 37 | 24 | 0.15 | |
| 2.0t | (19.6) | 1/2 | 13 | 16 | 21 | 33.5 | 48 | 30 | 0.36 | |
| 3.25t | (31.85) | 5/8 | 16 | 19 | 27 | 43 | 61 | 40 | 0.69 | |
| 4.75t | (46.55) | 3/4 | 19 | 22 | 32 | 51 | 72 | 48 | 1.20 | |
| 6.5t | (63.7) | 7/8 | 22 | 25 | 37 | 58 | 85 | 54 | 1.80 | |
| 8.5t | (83.3) | 1 | 25 | 28 | 43 | 69 | 96 | 60 | 2.50 | |
| 9.5t | (93.1) | 1-1/8 | 28 | 32 | 46 | 74 | 108 | 67 | 3.60 | |
| 12.0t | (117.6) | 1-1/4 | 32 | 36 | 52 | 83 | 119 | 76 | 5.00 | |
| 13.5t | (132.3) | 1-3/8 | 36 | 38 | 58 | 92 | 134 | 84 | 6.60 | |
| 17.0t | (166.6) | 1-1/2 | 38 | 42 | 61 | 99 | 146 | 92 | 8.20 | |
| 25.0t | (245.0) | 1-3/4 | 46 | 50 | 73 | 127 | 178 | 110 | 14.40 | |
| 35.0t | (343.0) | 2 | 50 | 57 | 83 | 146 | 197 | 127 | 21.60 | |
単位=mm
KS1130 バウタイプ
ボルトナット(塗装・めっき)
US型 強力シャックル KS1130(塗装)/ KG1130(めっき)
| 形式 | 使用荷重 | inch (呼び) |
d 本体径 |
d1 ピン径 |
B 口巾 |
B1 内径 |
L2 長さ |
D 頭径 |
Weight (kg) |
|
|---|---|---|---|---|---|---|---|---|---|---|
| tf | (KN) | |||||||||
| KS-1130 (塗装) KG-1130 (めっき) ボルトナット型 (Bolt Nut Type) |
2t | (19.6) | 1/2 | 13 | 16 | 21 | 33.5 | 48 | 30 | 0.395 |
| 3-1/4t | (31.85) | 5/8 | 16 | 19 | 27 | 43 | 61 | 40 | 0.726 | |
| 4-3/4t | (46.55) | 3/4 | 19 | 22 | 32 | 51 | 72 | 48 | 1.2 | |
| 6-1/2t | (63.7) | 7/8 | 22 | 25 | 37 | 58 | 85 | 54 | 1.8 | |
| 8-1/2t | (83.3) | 1 | 25 | 28 | 43 | 69 | 96 | 60 | 2.5 | |
| 9-1/2t | (93.1) | 1-1/8 | 28 | 32 | 46 | 74 | 108 | 67 | 3.56 | |
| 12t | (117.6) | 1-1/4 | 32 | 36 | 52 | 83 | 119 | 76 | 5.1 | |
| 13-1/2t | (132.3) | 1-3/8 | 36 | 38 | 58 | 92 | 134 | 84 | 7.0 | |
| 17t | (166.6) | 1-1/2 | 38 | 42 | 61 | 99 | 146 | 92 | 8.6 | |
| 25t | (245.0) | 1-3/4 | 46 | 50 | 73 | 127 | 178 | 110 | 15.3 | |
| 35t | (343.0) | 2 | 50 | 57 | 83 | 146 | 197 | 127 | 22.0 | |
| 50t | (490.0) | 2-1/2 | 65 | 70 | 105 | 184 | 267 | 153 | 43.0 | |
| 75t | (735.0) | 3 | 75 | 83 | 127 | 200 | 330 | 165 | 66.0 | |
| ※100t | (980.0) | 3-1/2 | 90 | 96 | 134 | 228 | 372 | 203 | 115.0 | |
| ※130t | (1274.0) | 4 | 100 | 108 | 140 | 254 | 418 | 228 | 163.0 | |
| ※150t | (1470.0) | 4-3/8 | 110 | 120 | 165 | 275 | 464 | 246 | 238.0 | |
単位=mm
※印が付いている製品には、ピンの抜き差しを容易にするための取手が付いています。
KS109 バウタイプ
捻込み(塗装・めっき)
US型 強力シャックル KS109(塗装)/ KS109(めっき)
| 形式 | 使用荷重 | inch (呼び) |
d 本体径 |
d1 ピン径 |
B 口巾 |
B1 内径 |
L2 長さ |
D 頭径 |
Weight (kg) |
|
|---|---|---|---|---|---|---|---|---|---|---|
| tf | (KN) | |||||||||
| KS-1130 (塗装) KG-1130 (めっき) ボルトナット型 (Bolt Nut Type) |
2t | (19.6) | 1/2 | 13 | 16 | 21 | 33.5 | 48 | 30 | 0.34 |
| 3-1/4t | (31.85) | 5/8 | 16 | 19 | 27 | 43 | 61 | 40 | 0.65 | |
| 4-3/4t | (46.55) | 3/4 | 19 | 22 | 32 | 51 | 72 | 48 | 1.1 | |
| 6-1/2t | (63.7) | 7/8 | 22 | 25 | 37 | 58 | 85 | 54 | 1.6 | |
| 8-1/2t | (83.3) | 1 | 25 | 28 | 43 | 69 | 96 | 60 | 2.3 | |
| 9-1/2t | (93.1) | 1-1/8 | 28 | 32 | 46 | 74 | 108 | 67 | 3.3 | |
| 12t | (117.6) | 1-1/4 | 32 | 36 | 52 | 83 | 119 | 76 | 4.65 | |
| 13-1/2t | (132.3) | 1-3/8 | 36 | 38 | 58 | 92 | 134 | 84 | 6.2 | |
| 17t | (166.6) | 1-1/2 | 38 | 42 | 61 | 99 | 146 | 92 | 7.7 | |
| 25t | (245.0) | 1-3/4 | 46 | 50 | 73 | 127 | 178 | 110 | 13.0 | |
| 35t | (343.0) | 2 | 50 | 57 | 83 | 146 | 197 | 127 | 19.5 | |
単位=mm
※破断荷重は使用荷重の6倍以上です。
1150型 ストレートタイプ
ボルトナット
鍛造による超強力シャックル 1150型(ストレートタイプ)
| 形式 | 使用荷重 Working Load |
DIMENSIONS IN mm | Weight per piece kgs |
|||||
|---|---|---|---|---|---|---|---|---|
| tf | (KN) | Size d&t |
B 口巾 |
D 頭径 |
d1 ピン径 |
L1 長さ |
||
| 1150型 ストレート タイプ ボルトナット型 (Bolt Nut Type) |
200t | (1960) | 120 | 184 | 270 | 130 | 480 | 230 |
| 250t | (2450) | 130 | 190 | 282 | 140 | 500 | 300 | |
| 300t | (2940) | 140 | 215 | 302 | 150 | 540 | 390 | |
| 400t | (3920) | 170 | 215 | 380 | 178 | 660 | 700 | |
| 500t | (4900) | 180 | 225 | 392 | 190 | 700 | 800 | |
| 600t | (5880) | 200 | 275 | 438 | 210 | 780 | 1000 | |
| 700t | (6860) | 210 | 290 | 450 | 220 | 820 | 1200 | |
| 800t | (7840) | 220 | 300 | 460 | 230 | 860 | 1250 | |
単位=mm
※設計製作できますので、お問い合わせ下さい。
※安全率は6倍以上となります。
2130型 バウタイプ
ボルトナット新モデル
鍛造による超強力シャックル 2130型(バウタイプ)
| 形式 | 使用荷重 Working Load |
DIMENSIONS IN mm | Weight (kg) |
||||||
|---|---|---|---|---|---|---|---|---|---|
| tf | (KN) | t 厚さ |
d1 ピン径 |
B 口巾 |
B1 内直径 |
L2 長さ |
D 頭径 |
||
| 2130型 バウタイプ ボルトナット型 (Bolt Nut Type) |
200t | (1960) | 125 | 130 | 150 | 274 | 540 | 260 | 290 |
| 300t | (2940) | 140 | 150 | 187 | 305 | 629 | 290 | 390 | |
| 400t | (3920) | 165 | 178 | 215 | 325 | 661 | 380 | 690 | |
| 500t | (4900) | 180 | 190 | 225 | 350 | 736 | 392 | 860 | |
| 600t | (5880) | 200 | 210 | 275 | 375 | 914 | 438 | 1095 | |
| 700t | (6860) | 200 | 220 | 290 | 400 | 940 | 450 | 1290 | |
| 800t | (7840) | 200 | 230 | 300 | 425 | 964 | 460 | 1315 | |
単位=mm
プルーフロード = 使用荷重 × 2倍 安全率 = 使用荷重 × 6倍以上
